- 2.1.4 Разрезы
- 2.1.5 Сечения
- 2.1.6 Условности и упрощения при выполнении разрезов
- 2.1.7 Выносные элементы
- 2.2 Индивидуальные задания
- 3 Графическая работа № 3. АКСОНОМЕТРИЯ
- 3.1 Аксонометрическое проецирование
- 3.2 Прямоугольное изометрическое проецирование
- 3.3 Прямоугольное диметрическое проецирование
- 3.4 Косоугольное изометрическое и диметрическое проецирование
- 4 Графическая работа № 4. ЭСКИЗЫ И РАБОЧИЕ ЧЕРТЕЖИ ДЕТАЛЕЙ. ДЕТАЛИРОВАНИЕ СБОРОЧНОЙ ЕДИНИЦЫ
- 4.1 Общие положения
- 4.2 Разъемные и неразъемные соединения
- 4.2.1 Сварные соединения
- 4.2.2 Паяные и клееные соединения
- 4.2.3 Резьбовые соединения
- 4.2.4 Шпоночные и шлицевые соединения
- 4.3 Зубчатые передачи
- 4.4 Эскиз детали
- 4.5 Деталирование сборочной единицы
- 4.6 Индивидуальные задания
- Библиографический список
2.1.4 Разрезы
Разрезом называется изображение предмета, полученное при мысленном рассечении его одной или несколькими секущими плоскостями. При этом часть предмета, расположенная между наблюдателем и секущей плоскостью, мысленно удаляется, а на плоскости проекций изображается то, что расположено в секущей плоскости и за ней.
В зависимости от числа секущих плоскостей, участвующих в образовании разреза, они подразделяются на простые и сложные. Простым называется разрез, полученный при применении одной секущей плоскости. В зависимости от положения секущей плоскости относительно горизонтальной плоскости проекций разрезы подразделяются на горизонтальные и вертикальные.
Горизонтальными называются разрезы, образованные секущими плоскостями, параллельными горизонтальной плоскости проекций (рис. 67)

. Вертикальными называются разрезы, образованные секущими плоскостями, перпендикулярными к горизонтальной плоскости проекций. Вертикальный разрез называется фронтальным, если секущая плоскость параллельна фронтальной плоскости проекций и профильным, если секущая плоскость параллельна профильной плоскости проекций. На рис. 68 показан пример построения фронтального разреза

.
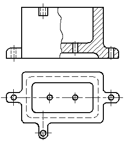
В остальных случаях положение секущей плоскости отмечается разомкнутой линией со стрелками, указывающими направление взгляда, а над разрезом выполняется соответствующая надпись «А – А». На одном изображении допускается соединение части вида и части разреза, при этом границей между видом и разрезом служит сплошная волнистая линия (рис. 69)

. Если соединяются половина вида и половина разреза, каждый из которых является симметричной фигурой, то разделительной линией служит ось симметрии (рис. 70)

.
2.1.5 Сечения
Сечение представляет собой изображение, полученное при мысленном рассечении предмета одной или несколькими плоскостями. При этом на сечении показывают лишь то, что расположено в секущей плоскости. Сечения разделяют на вынесенные (рис. 77) и наложенные (рис. 78) [IMAGE_77, IMAGE_78].
2.1.6 Условности и упрощения при выполнении разрезов
Такие элементы деталей как тонкие стенки, ребра жесткости и т.д. показывают на разрезе не заштрихованными в том случае, когда секущая плоскость направлена вдоль оси или длинной стороны этих элементов (рис. 86)

. Отверстия, расположенные на круглом фланце и не попадающие в секущую плоскость, на разрезе допускается показывать так, как если бы они были расположены в секущей плоскости (рис. 87)

.
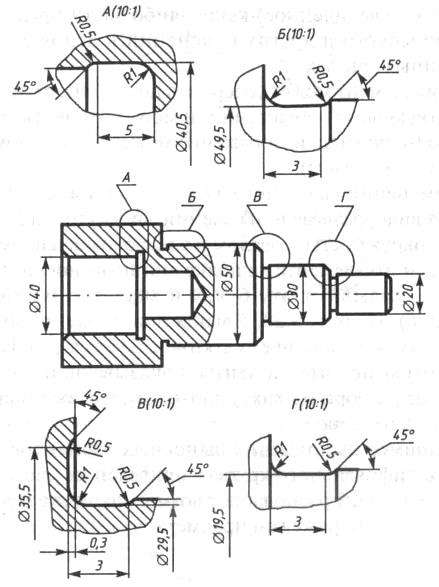
2.1.7 Выносные элементы
Выносным элементом называется дополнительное отдельное изображение (обычно увеличенное) какой-либо части предмета, требующей пояснений в отношении формы, размеров или других данных (рис. 88)

.
2.2 Индивидуальные задания
На листе формата А3 необходимо: 1. По двум заданным видам построить третий вид (вид слева), выполнить разрез и проставить размеры (задание 1 в табл.14). Считать исходные изображения детали, представленные в практикуме, выполненными в масштабе 1 : 1. Аналогичные изображения на формате А3 строить в масштабе 2 : 1. 2. Построить вид детали (задание 2 в табл.14). Пример оформления работы дан на рис. 109

.
| № | Задание 1 (Рис.) | Разрез | Задание 2 (Рис.) | Вид |
|---|---|---|---|---|
| 1 | 89 | Фронтальный | 99 | Главный |
| 11 | 89 | Профильный | 104 | Сверху |
*(Таблица сокращена для примера, в оригинале 20 вариантов)*
3 Графическая работа № 3. АКСОНОМЕТРИЯ
Цель работы: приобрести навыки построения аксонометрических проекций.
3.1 Аксонометрическое проецирование
Ортогональные проекции дают возможность точно отобразить форму и размеры предмета, но их недостатком является малая наглядность. Для построения наглядных изображений применяют аксонометрические проекции (ГОСТ 2.317-68). Способ аксонометрического проецирования состоит в том, что фигура параллельно проецируется на плоскость, вместе с осями прямоугольных координат, к которым она отнесена в пространстве (рис.110)

.
3.2 Прямоугольное изометрическое проецирование
В прямоугольной изометрии аксонометрические оси ОХ, ОY, ОZ расположены под углом 120°(рис. 111), коэффициенты искажения по осям равны 0,82

. Окружности, лежащие в основных плоскостях проекций, изображаются эллипсами (рис.113), у которых направление малой оси совпадает с направлением оси, не входящей в плоскость, а большая ось ей перпендикулярна

.
3.3 Прямоугольное диметрическое проецирование
В прямоугольной диметрии аксонометрическая ось ОZ располагается вертикально, ось ОХ – под углом 7010’ к горизонтальной линии, а ось ОY – под углом 41025’ (рис. 117)

.
3.4 Косоугольное изометрическое и диметрическое проецирование
В практике ландшафтного проектирования часто используют косоугольную изометрию, в связи с тем, что фигуры, расположенные в плоскостях, параллельных горизонтальной плоскости проекций, изображаются без искажения (рис. 122)

.
4 Графическая работа № 4. ЭСКИЗЫ И РАБОЧИЕ ЧЕРТЕЖИ ДЕТАЛЕЙ. ДЕТАЛИРОВАНИЕ СБОРОЧНОЙ ЕДИНИЦЫ
Цель работы: изучить разъемные и неразъемные соединения, зубчатые передачи, их изображения и обозначения на чертежах; усвоить правила и приемы составления эскизов и рабочих чертежей, способы обмера деталей; приобрести навыки чтения сборочного чертежа и деталирования сборочной единицы.
4.1 Общие положения
Виды изделий всех отраслей промышленности устанавливает ГОСТ 2.101-68. Изделием называется любой предмет или набор предметов производства, подлежащий изготовлению на предприятии. Установлены четыре вида изделий: неспецифицированные (детали) и специфицированные (сборочные единицы, комплексы и комплекты).
4.2 Разъемные и неразъемные соединения
Соединения деталей обеспечивают определенное взаимное их положение в процессе работы. Соединения могут быть разъемными и неразъемными. Разъемные соединения допускают разборку и повторную сборку соединяемых деталей без их разрушения и повреждения. К ним относятся: соединения резьбовые, шлицевые, шпоночные, штифтовые, шплинтовые и др.
4.2.1 Сварные соединения
Место соединения деталей разогревают электрической дугой, пламенем горелки и другими способами. В месте разогрева образуется сварной шов – участок сварного соединения, непосредственно связывающий свариваемые элементы. Сварной шов выполняют непрерывным или прерывистым. По взаимному расположению соединяемых деталей различают сварные соединения: стыковые, угловые, тавровые, нахлесточные (рис. 129)

.
4.2.2 Паяные и клееные соединения
При пайке детали соединяет специальный материал – припой, разогретый до температуры плавления, который заполняет зазор между деталями и, застывая, прочно соединяется с ними. При склеивании зазор между деталями заполняет клей. Изображают и обозначают паяные и клееные соединения согласно ГОСТ 2.313-82. Место соединения деталей отображают сплошной линией толщиной 2S.
4.2.3 Резьбовые соединения
Резьба – поверхность, образованная при винтовом движении плоского контура по цилиндрической или конической поверхности. На чертежах резьбу изображают условно, независимо от типа резьбы. Наружную резьбу показывают сплошными основными линиями по наружному диаметру резьбы и сплошными тонкими линиями по внутреннему диаметру на всю длину резьбы, включая фаску (рис. 143а)

.
4.2.4 Шпоночные и шлицевые соединения
Шпоночное и шлицевое соединения служат для передачи крутящих моментов, причем соединенные детали могут иметь перемещение относительно оси вращения. Шлицевые соединения позволяют передавать большие крутящие моменты по сравнению со шпоночными соединениями.
4.3 Зубчатые передачи
Зубчатые передачи служат для передачи вращательного движения с одного вала на другой или для преобразования вращательного движения в поступательное. Чертеж зубчатого колеса согласно ГОСТ 2.402-68 предусматривает условности: зубья не вычерчивают, делительную окружность отображают штрихпунктирной тонкой линией.
4.4 Эскиз детали
Эскиз – это чертеж детали, выполненный от руки без применения чертежных инструментов без соблюдения масштаба, но с сохранением пропорций. Этапы выполнения эскиза: анализ формы детали, выбор количества изображений, планировка листа, построение изображений, нанесение размеров, обмер детали, заполнение основной надписи.
4.5 Деталирование сборочной единицы
Деталированием называется составление рабочих чертежей деталей по сборочному чертежу. Рабочий чертеж детали – это технический документ, содержащий изображение детали и другие данные для ее изготовления и контроля. Последовательность выполнения: анализ сборочного чертежа, определение формы деталей, выбор масштаба и формата, построение изображений, простановка размеров, заполнение основной надписи.
4.6 Индивидуальные задания
Задания включают выполнение сборочного чертежа, рабочего чертежа вала-шестерни, эскиза детали и рабочего чертежа детали по сборочному чертежу (табл. 31-45) [IMAGE_175-187].
Библиографический список
- Бударин, О. С. Начертательная геометрия. Краткий курс [Текст]: учебное пособие / О. С. Бударин. – СПб.: Изд-во «Лань», 2008. – 386 с.
- ГОСТ 2.301-68 – ГОСТ 2.317-68. Общие правила выполнения чертежей. [Текст] – М.: Гос. ком. стандартов СМ СССР, 1971.– 222 с.
- Чекмарев, А. А. Инженерная графика (машиностроительное черчение) [Текст]/ А. А. Чекмарев.– М.: ИНФРА-М, 2009.–396 с.
- Чекмарев, А.А. Справочник по машиностроительному черчению [Текст]/ А. А. Чекмарев, В. К. Осипов.– М.: Высш. шк., 2001. – 493 с.
