1.2 Обзор и анализ существующих систем автоматического регулирования подачи аргона донной продувки установки вакуумирования стали
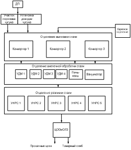
Сталеплавильное производство характеризуется цехом внепечной обработки конвертерной стали (ЦВОКС).
Структура цеха внепечной обработки конвертерной стали характеризуется:
- четырьмя установками доводки металла (УДМ), предназначенные для того, чтобы усреднить химический состав с температурами стали в ковше;
- установкой «Печь-ковш», где металл продувается в соответствии со сталеразливочным ковшом посредством инертного газа, корректируется температурные показатели стали, показатели электродугового нагрева и корректируется состав стали;
- установка вакуумирования стали (УВС) – для комплексной обработки стали в технологической линии «конвертер – МНЛЗ» с целью получения сталей с сверхнизким содержанием углерода, водорода, азота, серы. Установка состоит из 2-х вакуумных камер, работающих попеременно.
Технология внепечной обработки по УВС. []
Из конвертера в сталеразливочный ковш выплавленная сталь выпускается с содержанием шлака не более 3 кг/т. При выпуске стали из конвертера применяются устройства и технологии отсечки шлака.
Верхняя часть стальковша от настылей металла и шлака должна быть зачищена. Расстояние от верхнего края борта ковша до уровня жидкого металла должно быть не менее 1,0 м чтобы исключить выбросы металла, приварку защитной крышки к стальковшу.
С помощью сталевоза ковш транспортируется на участок доводки металла, где 500-тонным краном переставляется в одну из вакуумных камер.

Рисунок 2 – Структурная схема КС СП
Во время установки стальковша в вакуум-камеру производится подключение аргона, после чего сталевар должен убедиться, что аргон проходит через расплав. После установки факта прохождения аргона, расход его снижается до минимума (устанавливается при наладке). Затем отбирается проба металла и измеряется температура расплава и активность кислорода. Измеряется расстояние от уровня жидкого металла до верха ковша. Минимальное расстояние от уровня металла до края ковша составляет:
- для снижения содержания водорода в плавках, успокоенных алюминием – 1 м;
- для обезуглероживания – 1,2 м;
- для десульфурации и деазотирования – 1,3 м.
Измерение расстояния от уровня жидкого металла до верха ковша производится следующим образом: круглый стальной пруток, изогнутый под углом 90о, вводится в сталь-ковш таким образом, что горизонтальная часть его лежит на краю ковша, а вертикальная часть погружается в ванну металла. Через некоторое время вертикальный конец прутка до зеркала металла расплавляется. После вынимания прутка из ковша можно замерить остаточную длину вертикальной части и определить таким образом величину свободного борта.
Тележка с крышкой перемещается до рабочей позиции выбранной вакуум-камеры. Крышка опускается на фланец камеры, а защитная крышка опускается на ковш.
Герметизация между фланцами крышки и самой вакуум-камерой обеспечивается термостойким резиновым уплотнением.
Вакуумная камера предварительно должна быть подключена к вакуумному насосу.
После опускания крышки начинается включение вакуумного насоса, и давление в вакуум-камере снижается по заданному режиму.
Режим вакуумной дегазации.
Дегазация происходит на поверхности металла при пониженном парциальном давлении. Для успешной дегазации всего объёма металла необходимо перемешивание.
Для перемешивания используется инертный газ, пузырьки которого, попадая в металл из пористой пробки, растут в объёме. Рост объёма пузырьков происходит вследствие снижения ферростатического давления при всплытии.
Эффект перемешивания усиливается за счёт образования в объёме металла пузырей окиси углерода, что обусловлено наличием углерода и растворённого кислорода в стали.
Если имеющегося свободного растворённого кислорода в плавке недостаточно для получения необходимого содержания углерода, то расплав продувают кислородом через водоохлаждаемую фурму. В конце заданного периода обезуглероживания плавка раскисляется алюминием и производятся другие необходимые добавки.
Регулирование давления в вакуумной камере ведётся с применением газоанализатора ЭМГ-20-1.
Наблюдение за ходом дегазации осуществляется через смотровое окно (гляделки) или с помощью телевизионной камеры, установленной на крышке вакуумной камеры.
Чрезмерное газовыделение, сопровождающееся сильным разбрызгиванием металла и шлаковой эмульсии, может быть предотвращено либо снижением расхода подаваемого аргона, либо повышением давления в вакуумной камере.
Необходимые для точной доводки по химическому составу легирующие и раскисляющие элементы вводятся в ковш без доступа воздуха через вакуумную шлюзовую систему. Материалы выбираются, взвешиваются и вводятся в автоматическом режиме.
В конце обработки автоматически по заданной программе вакуумная система отключается и в камере восстанавливается давление до атмосферного.
После окончания вакуумной обработки крышка вакуумной камеры поднимается, и тележка транспортирует её в резервную позицию или на вторую камеру.
При необходимости может быть произведён отбор проб, замер температуры, окисленности, содержания водорода.
Кран поднимает сталеразливочный ковш из камеры, при этом отключается система подачи аргона, и ковш с плавкой передаётся на машину непрерывного литья заготовки. Цикл вакуумирования может быть повторен.
Общий вид установки показан на рисунке 1.2.

Рисунок 3 – Общий вид УВС: 1 – трубопровод аргона; 2 – пористые огнеупорные вставки (пробки); 3 – телега вакуумной крышки; 4 – телекамера; 5 – вакуумный бункер для подачи легирующих; 6 – кислородная фурма; 7 – трайб-аппарат; 8 – фурма для измерения температуры и отбора проб; 9-смотровое окно; 10 – теплозащитный экран; 11 – вакуумная крышка; 12 – сталеразливочный ковш; 13 – вакуумпровод; 14 – вакуумный насос.
Таблица 2 – Техническая характеристика оборудования комплекса
| № п. п. | Наименование показателей | Единица изм. | Кол-во |
|---|---|---|---|
| 1 | Емкость сталеразливочного ковша | т | 385 |
| 2 | Масса металла в ковше | т | 300 |
| 3 | Высота свободного борта | мм | 1000-1300 |
| 4 | Количество позиций | — | 2 |
| 5 | Диаметр крышки ВК | мм | 8000 |
| 6 | Высота крышки ВК | мм | 1950 |
| 7 | Диаметр вакуумной камеры | мм | 8000 |
| 8 | Высота вакуумной камеры | мм | ~7580 |
| 9 | Высота установки | мм | 17700 |
| 10 | Скорость подъёма крышки | мм/с | 16,6 |
Ковшевое вакуумирование неэффективно при обработке полностью раскисленной стали и больших масс металла. В этом случае вследствие слабого развития реакции С + О = СО металл кипит вяло. Для улучшения дегазации стали вакуумную обработку металлов в ковше совмещают с продувкой его аргоном. Обычно дегазацию металла в ковше проводят в течение 10 – 15 мин. Более длительная обработка приводит к значительному снижению температуры металла.
Обработка жидкой стали аргоном в ковше является наиболее простым способом повышения качества металла. Аргон вдувают в жидкую сталь через пористые и огнеупорные пробки, которые устанавливаются в днище ковша. Аргон не растворяется в жидкой стали, поэтому при продувке металла аргоном в объёме жидкой стали образуется большое количество пузырей, которые интенсивно перемешивают металл и выносят на его поверхность неметаллические включения. Кроме того, водород и азот, растворенные в стали, переходят в пузыри аргона и вместе с ним покидают жидкий металл, т.е. происходит дегазация стали.
Сталь, не содержащая нитридообразующих элементов (хрома, титана, ванадия и т.п.), часто продувается азотом, т.к. при 1550 – 1600 оС процесс растворения азота в жидком железе не получает заметного развития. Расход инертного газа составляет обычно 0,1 – 3,0 м3/т стали. В зависимости от массы жидкого сплава в ковше снижение температуры стали при таком расходе аргона составляет 2,5 – 4,5 оС/мин (без продувки сталь в ковше охлаждается со скоростью 0,5 – 1,0 оС/мин).
Тепло при продувке дополнительно затрачивается на нагрев инертного газа и излучение активно перемешиваемыми поверхностями сплава и шлака. Большая часть тепловых потерь связана с увеличением теплового излучения, поэтому такой приём, как накрывание ковша крышкой при продувке инертными газами позволяет заметно уменьшить потери тепла; при этом обнажающаяся при продувке сталь, имеет меньшую степень окисленности.
Большое распространение получил способ продувки стали инертными газами через устанавливаемые в днище ковша пористые огнеупорные вставки или пробки; в тех случаях, когда продувку инертными газами проводят одновременно через несколько пробок (вставок), эффективность воздействия инертного газа на сталь существенно увеличивается. Продувка с расходом газа до 0,5 м3/т стали достаточна для усреднения химического состава и температуры металла; сталь, продутая с интенсивностью до 1,0 м3/т имеет пониженное содержание неметаллических включений, для эффективной дегазации необходим расход инертного газа 2 – 3 м3/т металла.
