Практикум составлен в соответствии с типовой программой дисциплины «Теория обработки металлов давлением». В издании представлены методические указания к выполнению семи лабораторных работ, охватывающих темы: ознакомление с оборудованием прокатных станов, условие постоянства объема, трение в процессах ОМД, неравномерность деформации, закон наименьшего сопротивления, прессование металлов и исследование уплотняемости металлических порошков. Предназначено для студентов направления «Металлургия».
- Выходные данные
- ТЕОРИЯ ОБРАБОТКИ МЕТАЛЛОВ ДАВЛЕНИЕМ
- Аннотация
- Содержание
- ЛАБОРАТОРНАЯ РАБОТА №1. ОЗНАКОМЛЕНИЕ С ОБОРУДОВАНИЕМ ЛАБОРАТОРИИ ОМД. ПАСПОРТИЗАЦИЯ ПРОКАТНОГО СТАНА
- 1. Общие сведения
- Рабочая клеть и валки
- 2. Порядок выполнения работы
- ЛАБОРАТОРНАЯ РАБОТА №2. УСЛОВИЕ ПОСТОЯНСТВА ОБЪЕМА И КОЭФФИЦИЕНТЫ ДЕФОРМАЦИИ
- 1. Общие сведения
- ЛАБОРАТОРНАЯ РАБОТА №3. ТРЕНИЕ В ПРОЦЕССАХ ОБРАБОТКИ МЕТАЛЛОВ ДАЛЕНИЕМ
- 1. Общие сведения
- ЛАБОРАТОРНАЯ РАБОТА №4. НЕРАВНОМЕРНОСТЬ ДЕФОРМАЦИИ ПРИ ОБРАБОТКЕ МЕТАЛЛОВ ДАЛЕНИЕМ
- 1. Общие сведения
- ЛАБОРАТОРНАЯ РАБОТА №5. ЗАКОН НАИМЕНЬШЕГО СОПРОТИВЛЕНИЯ
- 1. Общие сведения
- ЛАБОРАТОРНАЯ РАБОТА №6. ПРЕССОВАНИЕ МЕТАЛЛОВ
- 1. Общие сведения
- ЛАБОРАТОРНАЯ РАБОТА №7. ИССЛЕДОВАНИЕ ПРЕССУЕМОСТИ МЕТАЛЛИЧЕСКИХ ПОРОШКОВ
- 1. Общие сведения
- Библиографический список
- Выходные данные издания
Выходные данные
Федеральное государственное бюджетное образовательное учреждение высшего образования «Магнитогорский государственный технический университет им. Г.И. Носова»
Н.М. Локотунина
ТЕОРИЯ ОБРАБОТКИ МЕТАЛЛОВ ДАВЛЕНИЕМ
Утверждено Редакционно-издательским советом университета в качестве практикума
Магнитогорск, 2019
Аннотация
Локотунина Н.М. Теория обработки металлов давлением [Электронный ресурс] : практикум / Наталья Михайловна Локотунина ; ФГБОУ ВО «Магнитогорский государственный технический университет им. Г.И. Носова». – Электрон. текстовые дан. (2,23 Мб). – Магнитогорск : ФГБОУ ВО «МГТУ им. Г.И. Носова», 2019. – 1 электрон. опт. диск (CD-R).
Практикум составлен в соответствии с типовой программой дисциплины «Теория обработки металлов давлением». В практикуме представлены методические указания к выполнению лабораторных работ по курсу «Теория обработки металлов давлением». Практикум предназначен для студентов, обучающихся по направлению 22.03.02 «Металлургия». Он может быть использован для студентов других направлений и специальностей, изучающих теоретические основы обработки металлов давлением.
Содержание
- ЛАБОРАТОРНАЯ РАБОТА №1 ОЗНАКОМЛЕНИЕ С ОБОРУДОВАНИЕМ ЛАБОРАТОРИИ ОМД. ПАСПОРТИЗАЦИЯ ПРОКАТНОГО СТАНА
- ЛАБОРАТОРНАЯ РАБОТА №2 УСЛОВИЕ ПОСТОЯНСТВА ОБЪЕМА И КОЭФФИЦИЕНТЫ ДЕФОРМАЦИИ
- ЛАБОРАТОРНАЯ РАБОТА №3 ТРЕНИЕ В ПРОЦЕССАХ ОБРАБОТКИ МЕТАЛЛОВ ДАЛЕНИЕМ
- ЛАБОРАТОРНАЯ РАБОТА №4 НЕРАВНОМЕРНОСТЬ ДЕФОРМАЦИИ ПРИ ОБРАБОТКЕ МЕТАЛЛОВ ДАЛЕНИЕМ
- ЛАБОРАТОРНАЯ РАБОТА №5 ЗАКОН НАИМЕНЬШЕГО СОПРОТИВЛЕНИЯ
- ЛАБОРАТОРНАЯ РАБОТА №6 ПРЕССОВАНИЕ МЕТАЛЛОВ
- ЛАБОРАТОРНАЯ РАБОТА №7 ИССЛЕДОВАНИЕ ПРЕССУЕМОСТИ МЕТАЛЛИЧЕСКИХ ПОРОШКОВ. МЕТОД ОПРЕДЕЛЕНИЯ УПЛОТНЯЕМОСТИ ПОРОШКОВ
- БИБЛИОГРАФИЧЕСКИЙ СПИСОК
ЛАБОРАТОРНАЯ РАБОТА №1. ОЗНАКОМЛЕНИЕ С ОБОРУДОВАНИЕМ ЛАБОРАТОРИИ ОМД. ПАСПОРТИЗАЦИЯ ПРОКАТНОГО СТАНА
Цель работы: ознакомление с оборудованием прокатной лаборатории кафедры ТОМ ФГБОУ ВО «МГТУ им. Г.И. Носова» и изучение правил безопасной работы на лабораторных станах.
1. Общие сведения
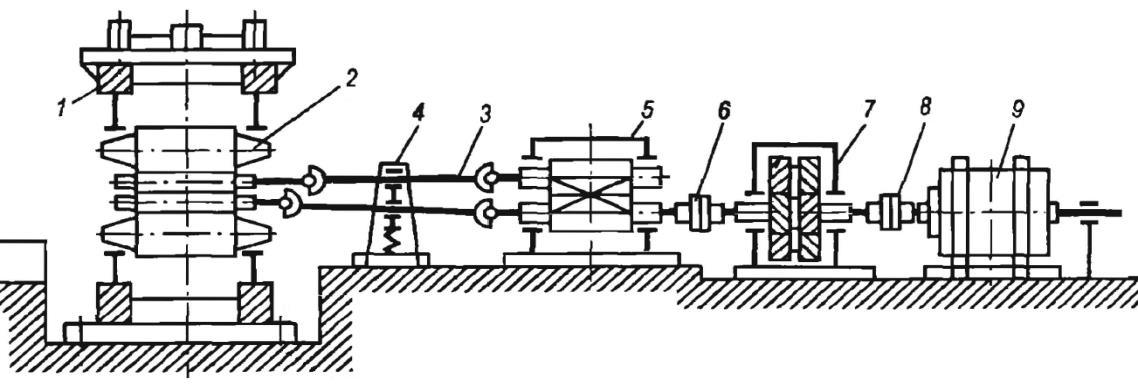
Прокатным станом называют совокупность оборудования, предназначенного для пластической деформации в приводных прокатных валках, транспортировки, отделки и упаковки проката. Оборудование прокатного стана делят на две группы: основное и вспомогательное.

Главная линия прокатного стана состоит из трех основных частей: электродвигателя, передаточных механизмов и рабочей клети. Современные станы имеют главные линии с индивидуальным и групповым приводом.


Рабочая клеть и валки
Рабочая клеть состоит из станин, в которых размещаются прокатные валки. Валки бывают листовые (гладкие) и сортовые (калиброванные). Для установки зазора применяют нажимные и уравновешивающие устройства.




2. Порядок выполнения работы
Работа выполняется посредством составления схемы расположения оборудования и паспорта прокатного стана лаборатории ОМД. Студентам следует заполнить паспорт лабораторного прокатного стана (Таблицы 1-4).
| Назначение | Выполнение научных, исследовательских и лабораторных работ |
| Тип прокатного стана | Одноклетьевой, дуо |
| Реверсивность | Не реверсивный |
| Максимальная ширина проката, мм | 400 |
*(Далее в оригинале представлены таблицы 2, 3, 4 с техническими характеристиками привода, передаточных механизмов и рабочей клети)*
ЛАБОРАТОРНАЯ РАБОТА №2. УСЛОВИЕ ПОСТОЯНСТВА ОБЪЕМА И КОЭФФИЦИЕНТЫ ДЕФОРМАЦИИ
Цель работы: проверка опытным путем выполнения условия постоянства объема и знакомство с величинами, характеризующими деформацию тела.
1. Общие сведения
Условие постоянства объема: const = HBL = hbl. Деформация определяется абсолютными и относительными величинами. Коэффициенты деформации: γ = h/H, β = b/B, μ = l/L. По условию постоянства объема: γβμ = 1.


ЛАБОРАТОРНАЯ РАБОТА №3. ТРЕНИЕ В ПРОЦЕССАХ ОБРАБОТКИ МЕТАЛЛОВ ДАЛЕНИЕМ
Цель работы: проверка опытным путем влияния условий контактного трения на потребное усилие деформирования.
1. Общие сведения
Различают три вида трения: сухое, граничное и жидкостное. Законы трения: Амонтона-Кулона (Pт = f⋅N) и закон трения по Зибелю (τ = m⋅σn).


ЛАБОРАТОРНАЯ РАБОТА №4. НЕРАВНОМЕРНОСТЬ ДЕФОРМАЦИИ ПРИ ОБРАБОТКЕ МЕТАЛЛОВ ДАЛЕНИЕМ
Цель работы: ознакомление с основными видами неравномерной деформации при прокатке.
1. Общие сведения
Основные причины неравномерности: несоответствие формы инструмента, наличие трения, несимметричность нагрузки, неоднородность свойств. С.И. Губкин сформулировал закон дополнительных напряжений.













ЛАБОРАТОРНАЯ РАБОТА №5. ЗАКОН НАИМЕНЬШЕГО СОПРОТИВЛЕНИЯ
Цель работы: ознакомление с проявлением закона наименьшего сопротивления и правилом наименьшего периметра.
1. Общие сведения
Закон наименьшего сопротивления: любая частица деформируемого тела движется в направлении наименьшего сопротивления. Правило наименьшего периметра: при осадке заготовка стремится принять форму, имеющую наименьший периметр (круг).



ЛАБОРАТОРНАЯ РАБОТА №6. ПРЕССОВАНИЕ МЕТАЛЛОВ
Цель работы: ознакомление в процессе прямого прессования с влиянием степени деформации на усилие прессования и неравномерность деформации.
1. Общие сведения
Прессование — способ обработки металлов давлением, при котором металл выдавливают из замкнутой полости через отверстие матрицы. Методы: прямое, обратное, гидропрессование, с активными силами трения.



ЛАБОРАТОРНАЯ РАБОТА №7. ИССЛЕДОВАНИЕ ПРЕССУЕМОСТИ МЕТАЛЛИЧЕСКИХ ПОРОШКОВ
Цель работы: исследование уплотняемости металлических порошков как одной из основных характеристик прессуемости.
1. Общие сведения
Технология порошковой металлургии включает получение порошков, формование, спекание и доводку. Уплотняемость порошков описывается уравнениями М.Ю. Бальшина.







Библиографический список
1. Тулупов С.А. и др. Теория обработки металлов давлением. – Магнитогорск, 2010.
2. Шевакин Ю.Ф. и др. Обработка металлов давлением. Прокатное производство. – М., 2005.
3. Суворов И.К. Обработка металлов давлением. – М., 1973.
4. Громов Н.П. Теория обработки металлов давлением. – М., 1978.
5. Мастеров В.А., Берковский В.С. Теория пластической деформации и обработка металлов давлением. – М., 1989.
*(Список содержит 39 источников)*
Выходные данные издания
Учебное текстовое электронное издание. Локотунина Наталья Михайловна. ТЕОРИЯ ОБРАБОТКИ МЕТАЛЛОВ ДАВЛЕНИЕМ. Практикум. г. Магнитогорск, 2019 год. ФГБОУ ВО «МГТУ им. Г.И. Носова».
